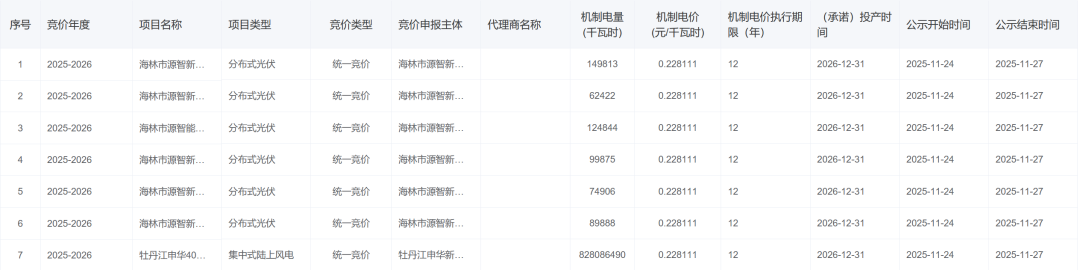
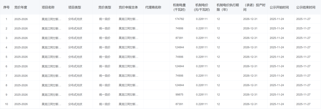
电力家获悉,11月24日,黑龙江公示2025-2026年度机制电价竞价出清结果,根据公示,机制电价水平0.228111元/千瓦时,共277个项目入围,机制电量规模为63亿度,11个陆上风电、3个集中式光伏,其他均为分布式光伏项目。
根据黑龙江136号文竞价规则,本次竞价主体范围为2025年6月1日—2026年12月31日投产的光伏、风电项目。
机制电量总规模为63.04亿度,申报充足率不低于125%,单体项目申报比例为85%,执行期限12年。
电价方面,机制电价上限为0.3元/度,下限为0.114元/度。风、光近三年平均发电利用小时数分别按2485小时、1517小时核算。(详见:黑龙江“136号文”:存量0.374元/kWh、增量机制电价不得高于煤电基准价)
部分项目如下:



(更多项目请前往国网新能源云平台查看)
来源:国网新能源云

