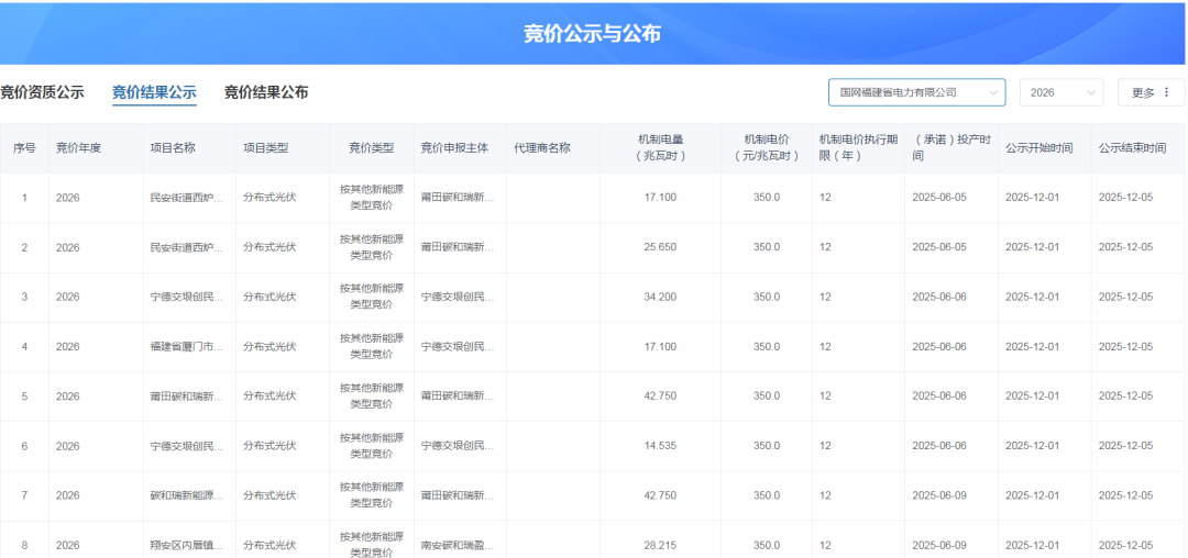
电力家获悉,12月1日,国网新能源云公示福建2026年度增量新能源项目机制电价竞价结果。
根据公示结果,2026年按海上光伏竞价项目竞价出清结果:机制电量规模 1596912.011 兆瓦时,机制电价水平388.0 元/兆瓦时,项目 10 个;按其他新能源类型竞价项目竟价出清结果:机制电量规模 661291.372 兆瓦时,机制电价水平 350.0 元/兆瓦时,项目 6294 个。
根据此前福建发改委文件,本次竞价主体项目要求2025年6月1日(含)至2026年12月31日(含)期间已全容量并网投产或计划全容量并网投产、且未纳入过机制执行范围,不包括2025年1月27日(不含)前竞争性配置的海上风电项目。分布式新能源项目可以委托竞价代理商参与竞价。
竞价组织分类区分海上光伏、其他新能源两种技术类型。海上光伏竞价场次有效申报项目少于5个(不含),不开展出清。从本次起算,有效出清的海上光伏单独分类竞价原则上不超过3次。
机制电量总规模46.3亿千瓦时。其中海上光伏14.5亿千瓦时,其他新能源31.8亿千瓦时。
申报充足率125%,单个项目电量申报上限为90%,执行期限12年。
竞价上下限:海上光伏上限为393.2元/兆瓦时,其他新能源上限为357.0元/兆瓦时;下限统一为160.0元/兆瓦时。
项目如下:


(更多项目请前往新能源云查看)
来源:新能源云

